Миниатюрный приемник на микросхеме 198НТ1Б
Автор internum
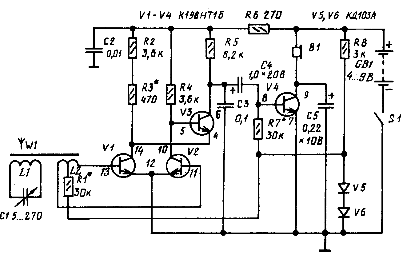
Сравнительно простой, достаточно чувствительный и малогабаритный приемник прямого
усиления можно собрать всего на одной микросхеме К198НТ1Б, представляющей собой
сборку из пяти транзисторов структуры n-p-п. Такой приемник удобно брать, например,
на рыбалку или пользоваться им в туристских походах. Работает он в диапазоне средних
и частично длинных волн (1605…330 кГц), потребляемый от источника питания напряжением
4…9 В ток не превышает 7 мА. Выделенный колебательным контуром L1C1 магнитной
антенны

W1 сигнал радиостанции поступает через катушку связи L2 на усилитель ВЧ, собранный
на транзисторах V1 и V2 по дифференциальной схеме. Выбор такого каскада обусловлен
тем, что эти транзисторы микросхемы согласованы по параметрам (разброс их коэффициента
передачи тока не превышает 15%) и рассчитаны на работу в дифференциальном усилителе.
К выходу усилителя ВЧ подключен триодный детектор, выполненный на транзисторе V3.
Нагрузкой детектора является резистор R5, а фильтрует продетектированный сигнал
конденсатор СЗ. Снимаемый с резистора нагрузки сигнал звуковой частоты подается
через конденсатор С4 на однокаскадный усилитель НЧ, собранный на транзисторе V4.
В цепи его коллектора стоит нагрузка — головной телефон В1 Конденсатором С5 задается
нужный тембр звучания. Режим работы транзисторов V1 и V2 определяет резистор R1,
транзистора V3 — резистор R3, транзистора V4 — резистор R7. Питают базовые цепи
транзисторов (кроме V3) от стабилизатора напряжения (резистор R8 и диоды V5. V6).
Для изготовления магнитной антенны понадобится стержень диаметром 8 и длиной 40…70
мм из феррита 400НН или 600НН. Его вставляют в бумажный каркас такой же длины и
наматывают на каркас сначала катушку L1 — 120 витков провода ЛЭШО 10×0,05 или ПЭЛ
0,2…0,3. Намотка виток к витку. Поверх нее наматывают (так же виток к витку) катушку
L2 — 20 витков провода ПЭЛ 0,2 с отводом от середины.
Конденсатор переменной емкости — от радиоприемника «Селга-404», или другой малогабаритныйконденсатор с указанными на схеме или несколько большими пределами изменения емкости.
Источник питания — батарея «Крона», последовательно соединенные аккумуляторы Д-0,06
или другой источник с указанным на схеме напряжением. Работоспособность приемника
сохраняется при падении напряжения питания до 2,5 В. Максимальные чувствительность
и громкость приемника будут, конечно, при напряжении источника питания 9 В. Головной
телефон — ТМ-2м или ТМ-4. Вместо указанной микросхемы можно применить К198НТ1А,
К198НТ5Б (в этом случае нужно изменить на обратную полярность включения источника
питания, диодов, электролитических конденсаторов) или маломощные низкочастотные
кремниевые транзисторы структуры n-p-п с коэффициентом передачи тока 60…100 (подойдут,
например, транзисторы серии КТ315). Полное описание приемника и рисунок печатной
платы приводится в .
Схема: Миниатюрный приемник на микросхеме 198НТ1Б
Версия для печати:
1704 23 March 2007
Детали и конструкция
Для изготовления магнитной антенны понадобится стержень диаметром 8 и длиной 40…70 мм из феррита 400НН или 600НН. Его вставляют в бумажный каркас такой же длины и наматывают на каркас сначала катушку L1 — 120 витков провода ЛЭШО 10х0,05 или ПЭЛ 0,2…0,3. Намотка виток к витку. Поверх нее наматывают (так же виток к витку) катушку L2 — 20 витков провода ПЭЛ 0,2 с отводом от середины.
Конденсатор переменной емкости — от радиоприемника «Селга-404», или другой малогабаритный конденсатор с указанными на схеме или несколько большими пределами изменения емкости.
Источник питания — батарея «Крона», последовательно соединенные аккумуляторы Д-0,06 или другой источник с указанным на схеме напряжением. Работоспособность приемника сохраняется при падении напряжения питания до 2,5 В. Максимальные чувствительность и громкость приемника будут, конечно, при напряжении источника питания 9 В. Головной телефон — ТМ-2м или ТМ-4.
Вместо указанной микросхемы можно применить К198НТ1А, К198НТ5Б (в этом случае нужно изменить на обратную полярность включения источника питания, диодов, электролитических конденсаторов) или маломощные низкочастотные кремниевые транзисторы структуры п-р-п с коэффициентом передачи тока 60…100 (подойдут, например, транзисторы серии КТ315).
Литература: Николаев А.П., Малкина М.В. 500 схем для радиолюбителей., 1998, 155 с.
Принципиальная схема
Выделенный колебательным контуром L1C1 магнитной антенны W1 сигнал радиостанции поступает через катушку связи L2 на усилитель ВЧ, собранный на транзисторах V1 и V2 по дифференциальной схеме.

Рис. 1. Принципиальная схема самодельного радиоприемника на микросборке К198НТ1Б.
Выбор такого каскада обусловлен тем, что эти транзисторы микросхемы согласованы по параметрам (разброс их коэффициента передачи тока не превышает 15%) и рассчитаны на работу в дифференциальном усилителе. К выходу усилителя ВЧ подключен триодный детектор, выполненный на транзисторе V3.
Нагрузкой детектора является резистор R5, а фильтрует продетектированный сигнал конденсатор C3. Снимаемый с резистора нагрузки сигнал звуковой частоты подается через конденсатор С4 на однокаскадный усилитель НЧ, собранный на транзисторе V4.
В цепи его коллектора стоит нагрузка — головной телефон В1 Конденсатором С5 задается нужный тембр звучания. Режим работы транзисторов V1 и V2 определяет резистор R1, транзистора V3 — резистор R3, транзистора V4 — резистор R7. Питают базовые цепи транзисторов (кроме V3) от стабилизатора напряжения (резистор R8 и диоды V5. V6).




























