Для новичков: простые схемы
Начинающим электронщикам для первых шагов в изучении микросхемы К176ИЕ12 рекомендуется использовать простые схемы, которые не требуют сложных подключений и настроек.
Одной из самых простых схем включения является схема непосредственного включения микросхемы К176ИЕ12 без использования дополнительных элементов. Для этой схемы необходимо подключить питание к контакту 14 микросхемы, а сигнал на вход подать на контакт 1 или 2.
| Контакт микросхемы | Описание |
|---|---|
| 1 или 2 | Вход сигнала |
| 14 | Питание (5 В) |
Данная схема позволяет просто и быстро проверить работу микросхемы К176ИЕ12, но она не предоставляет возможности реализации сложных логических схем.
Для реализации более функциональных схем можно использовать дополнительные элементы, такие как сопротивления и конденсаторы. Например, для создания простой логической функции «ИЛИ» можно использовать следующую схему:
| Контакт микросхемы | Описание |
|---|---|
| 1 и 2 | Входы сигнала |
| 3 | Выход |
| 14 | Питание (5 В) |
| 11 | Сопротивление (1 кОм) |
| 9 | Сопротивление (1 кОм) |
| 10 | Сопротивление (1 кОм) |
| 8 | Конденсатор (0.1 мкФ) |
В данной схеме микросхема К176ИЕ12 используется для реализации логической функции «ИЛИ» на основе входных сигналов, которые подаются на контакты 1 и 2. Входные сигналы через сопротивления поступают на контакты 11 и 9 соответственно. Контакт 10 подключен к питанию через сопротивление, а контакт 8 подключен к питанию через конденсатор.
Приведенные схемы включения микросхемы К176ИЕ12 являются простыми и понятными даже для новичков в области электроники. Используйте их для первых экспериментов и изучения работы данной микросхемы.
Проверка работоспособности зарядного устройства
В условиях продажи зарядного устройства в магазине при отсутствии аккумулятора, а также у потребителя для проверки работоспособности зарядного устройства, допускается кратковременно использовать вместо аккумулятора батарейки из сухих элементов общим напряжением не менее 4 В (удобнее всего использовать батарейку на напряжение 4,5 В, допускается использование последовательно включенных элементов по 1,5 В каждый — не менее 3х элементов).
Проверку производить следующим образом:
- Установить ручку В в крайнее левое положение.
- Подключить контактные зажимы зарядного устройства к выводам батареи, соблюдая полярность: зажим «+» устройства к «+» батарейки, а зажим «-» устройства к «-» батарейки.
- Включить зарядное устройство в сеть переменного тока напряжением 220 В, при этом па лицевой панели устройства загорится светодиод «СЕТЬ» и в зависимости от состояния электронной схемы может загореться светодиод. Нажать кнопку . При этом, если горел светодиод, то он погаснет.
- Поворотом ручки по часовой стрелке убедиться в изменении тока (ток будет плавно увеличиваться). Это является критерием работоспособности устройства. Примечание. Во избежание преждевременного выхода проверочной батареи из строя рекомендуется проверку тока проводить не более 5 ч- 10 секунд и величину тока устанавливать не более 3-5 А.
- После проверки выведите ручку (против часовой стрелки до отсутствия показаний зарядного тока. Отключите зарядное устройство от сети и от батарейки.
Рекомендации по выбору дополнительных компонентов для включения микросхемы К176ИЕ12
Выбор дополнительных компонентов для включения микросхемы К176ИЕ12 играет важную роль в обеспечении стабильной и эффективной работы данного устройства
Различные компоненты могут влиять на электрические характеристики и надежность работы микросхемы, поэтому важно правильно подобрать их
Один из ключевых аспектов выбора дополнительных компонентов – это выбор резисторов. Резисторы используются для регулировки тока или напряжения в схеме. Резисторы должны иметь правильное сопротивление, которое должно соответствовать рабочим параметрам микросхемы
Также важно учесть мощность, температурный диапазон и точность резисторов
Кроме того, включение микросхемы К176ИЕ12 может потребовать использования конденсаторов. Конденсаторы используются для фильтрации и сглаживания сигналов, а также для создания временных задержек
При выборе конденсаторов необходимо обратить внимание на емкость, рабочее напряжение и температурный диапазон. Также стоит учесть тип конденсатора: керамический, электролитический, пленочный и т
д.
Компоненты, такие как диоды и транзисторы, могут использоваться в схеме для переключения электрических сигналов. При выборе диодов и транзисторов необходимо учесть тип (обычный, шотки, запорный), рабочее напряжение и максимальный ток, а также температурный диапазон.
Особое внимание следует уделить выбору таких компонентов, как стабилизаторы напряжения, трансформаторы и индуктивности. Эти компоненты используются для обеспечения стабильности напряжения, преобразования сигналов и фильтрации шумов
При выборе стабилизаторов, трансформаторов и индуктивностей необходимо учесть их рабочий диапазон, максимальную нагрузку и электрические характеристики.
Кроме этих основных компонентов, включение микросхемы К176ИЕ12 может требовать выбора других дополнительных компонентов, таких как транзисторные ключи, операционные усилители и др. При выборе этих компонентов стоит учитывать их характеристики и совместимость с микросхемой.
В целом, выбор дополнительных компонентов для включения микросхемы К176ИЕ12 требует внимания к деталям и учета требований к работе микросхемы. Правильно подобранные компоненты помогут обеспечить стабильную и эффективную работу микросхемы, а также повысят ее надежность.
Подготовка к работе с микросхемой К176ИЕ12
Перед началом работы с микросхемой К176ИЕ12 необходимо выполнить несколько подготовительных шагов. Эти шаги помогут обеспечить эффективную работу микросхемы и избежать возможных проблем.
1. Проверьте целостность микросхемы. Внимательно осмотрите микросхему на наличие видимых повреждений. Убедитесь, что все контакты и выводы микросхемы находятся в хорошем состоянии и не повреждены.
2. Ознакомьтесь с технической документацией. Перед началом работы с микросхемой необходимо изучить ее техническую документацию. Ознакомьтесь с электрическими параметрами, особенностями подключения и режимами работы микросхемы.
3. Подготовьте необходимые компоненты. Перед началом работы убедитесь, что у вас есть все необходимые компоненты для подключения микросхемы. Учтите требования к напряжению питания, входным сигналам и подключение соответствующих элементов.
4. Подготовьте рабочую область. Создайте удобные условия для работы с микросхемой. Обеспечьте хорошее освещение и комфортную рабочую зону. Убедитесь, что вы имеете доступ к необходимому оборудованию и инструментам.
5
Примите меры предосторожности. При работе с микросхемой К176ИЕ12 следуйте правилам безопасности
Не прикасайтесь к контактам микросхемы голыми руками. Используйте антистатическое средство на случай статического электричества.
6. Пользуйтесь схемами включения. Для эффективной работы с микросхемой К176ИЕ12 рекомендуется использовать готовые схемы включения. Они помогут обеспечить оптимальные условия подключения, минимизировать ошибки и упростить процесс работы.
Правильная подготовка к работе с микросхемой К176ИЕ12 позволит избежать многих проблем и обеспечит эффективное функционирование микросхемы.
Устройство изделия
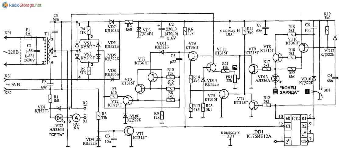
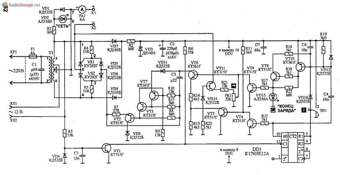
Устройство УЗ-А представляет собой выпрямитель с плавной установкой тока. С выводов 3, 6 сетевого трансформатора Т1 напряжение поступает на 2[-полупериодный управляемый выпрямитель, выполненный на тиристорах VS1 и VS2.
Выпрямленное напряжение подается на аккумуляторную батарею через контакты X1 («плюс») и Х2 («минус»). Для контроля величины тока заряда служит индикатор тока РА1.
Для отключения цепи заряда от аккумулятора через 10,5 ± 1 час, управления работой тиристоров и установки необходимого тока заряда служит схема, собранная на транзисторах VT1 + VT11 и микросхеме DD1.
На транзисторе VT1 выполнен формирователь импульсов с частотой 50 Гц, на интегральной схеме DD1 — счетчик импульсов, на транзисторах VT8 и VT10 — делитель частоты на 2, на транзисторе VT6 — управляемый генератор (стабилизатор) тока.
При этом необходимый ток заряда устанавливается потенциометром RP1.
Генератор управляющих импульсов выполнен на транзисторах VTЗ и VT7.
Транзистор VT2 является усилителем этих импульсов по мощности.

Рис. 2. Принципиальная схема устройства зарядного автоматического «Электроника» — вариант 1 (нумерация деталей выполнена согласно маркировке на заводской схеме).

Рис. 3. Принципиальная схема устройства зарядного автоматического «Электроника» — вариант 2 (нумерация деталей выполнена согласно маркировке на заводской плате).

Рис. 4. Монтажная плата устройства зарядного автоматического «Электроника».

Рис. 5. Монтажная плата устройства зарядного автоматического «Электроника».
На транзисторе VT11 выполнена схема защиты от короткого замыкания и переполюсовки выводов.
Схема на транзисторах VT4 и VT5 служит для переключения устройства в режим уменьшенного тока (через 6 — 8 часов ток уменьшится в 1,3 — 2,5 раза).
На диодах VD7 и VD8 собран выпрямитель питания схемы формирователя импульсов и счетчика. Диоды VD5 и VD6 запрещают подачу импульсов на управляющий электрод тиристора в момент, когда к тиристору приложено обратное напряжение.
Для индикации включения сети и конца заряда служат светодиоды VD2 и VD13.
Предприятие — изготовитель оставляет за собой право замены отдельных элементов схемы, не влияющих на технические характеристики изделия.























